一、窄口双密封量油装置
型号规格:FCY-150
质量:21kg
装于油罐顶部,用于测量罐内油品的标高
和温度及取样等,具有防毒功能。

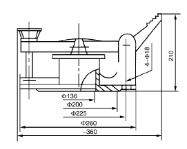
二、量 油 孔
型号规格:FCY-150
量油孔为脚踏式,装于油罐顶部,用于
测量罐内油品的标高和温度及取样等。

三、GZQ-1罐顶通气孔
适用范围:用于内
规格:660×400
重量:66kg
四、L-2/1罐壁通气孔
规格:700×400
重量:20 kg
 
五、FNT-1防爆阻火通气罩
适用范围:
加油站、储油罐的通气管口上、油槽车、油罐车上、洞库、油漆厂、容剂
厂、油厂及制药厂排出的管口上。
符合国际GB5908-86规定。
|
规格
|
A
|
B
|
C
|
D
|
质量kg
|
|
Dg40
|
φ170
|
φ110
|
φ130
|
106
|
4.16
|
|
Dg50
|
φ170
|
φ110
|
φ140
|
106
|
4.35
|
|
Dg80
|
φ210
|
φ150
|
φ185
|
125
|
6.43
|
|
Dg100
|
φ250
|
φ170
|
φ205
|
155
|
7.21
|
|
Dg150
|
φ290
|
φ225
|
φ260
|
175
|
8.01
|
|